Лазерные дворники получили патент
Tesla продолжает инвестировать в исследования и разработки, ища более эффективные способы решения различных задач. Теперь в компании обратили внимание на дворники.
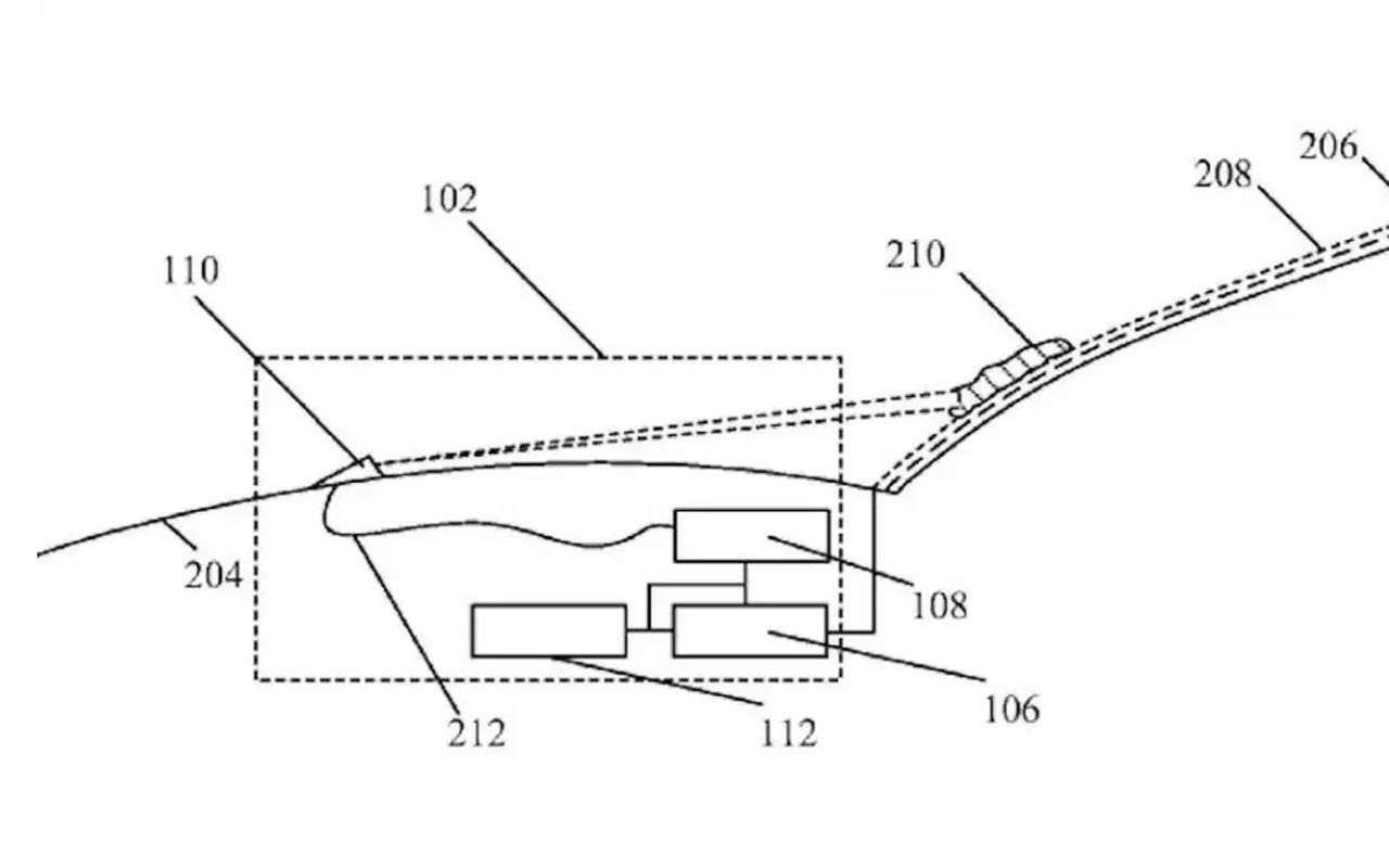
Работы над лазерными стелоочистителями начались в 2019 году. Тогда же была подана заявка на патент идеи:
«Система очистки включает в себя блок лучевой оптики, который направляет лазерный луч на стекло транспортного средства, схему обнаружения загрязнений, и схему управления. Схема управления калибрует лазерный луч на основе данных обнаружения загрязнений, скопившихся в области очистки, регулирует степень воздействия лазерного луча, что ограничивает его проникновение за стекло».
Система получила официальное название «Импульсная лазерная очистка от мусора, накопившегося на стеклянных изделиях транспортных средств и фотоэлектрических агрегатов». Некоторые предполагают, что новая технология может появиться на пикапе Cybertruck. Почему? Потому что прототип не имел и не имеет дворников.
На каких еще автомобилях может использоваться новая технология пока неизвестно. Также известно, что компания Tesla занимается разработкой и электромагнитных дворников. Кажется, это более простой вариант очистки стекол, который имеет больше шансов на внедрение в серийные автомобили.
- 10 минут на заряд — появился новый аккумулятор из кремния.
- «За рулем» теперь можно читать в ВКонтакте.
Изображение: Tesla