Технологии

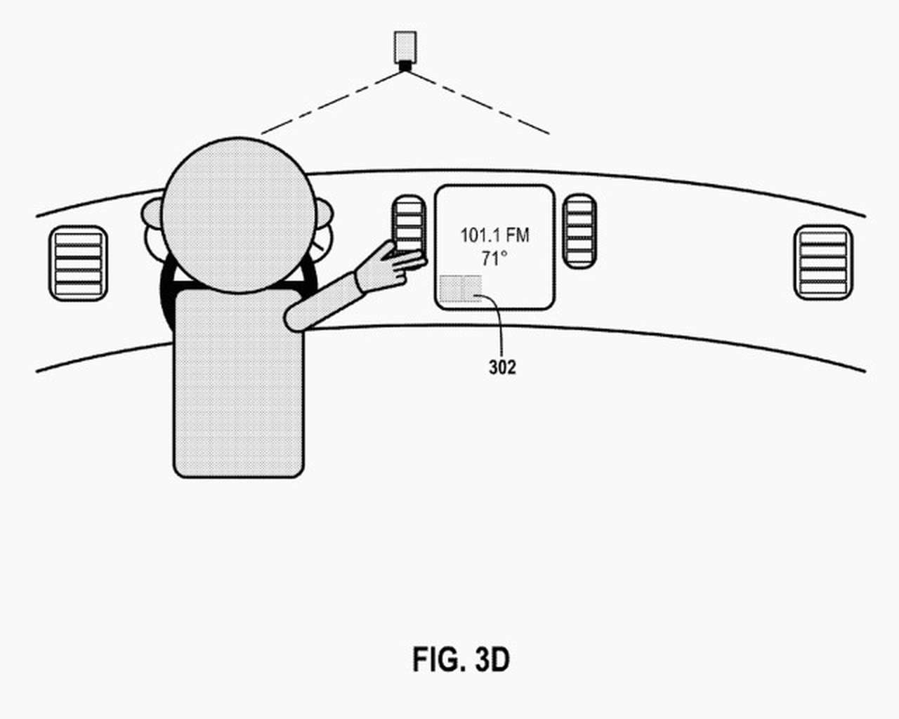
Google запатентовал управление автомобилем с помощью жестов
Google запатентовал управление автомобилем с помощью жестов
Компания Google получила патент на технологию, которая позволит водителям управлять частью функций автомобиля с помощью жестов. Предполагается, что такие возможности могут быть реализованы на самоуправляемых автомобилях, разрабатываемых интернет-гигантом.
Количество просмотров 3558Количество комментариев 1
Опрос ЗР: Все ли опции нужны в современном автомобиле?
Опрос ЗР: Все ли опции нужны в современном автомобиле?
Темой нашего исследования на минувшей неделе стали лишние, на взгляд читателей, опции в современном автомобиле. Сегодня их предлагают великое множество. Как не потеряться в таком изобилии и выбрать то, без чего действительно сложно обойтись? В этом нам помогут специалисты трех компаний, согласившиеся прокомментировать результаты сегодняшнего опроса.
Количество просмотров 31317Количество комментариев 3
Cамыми опасными для водителей признаны Kia Rio, Nissan Tiida и Hyundai Accent
Cамыми опасными для водителей признаны Kia Rio, Nissan Tiida и Hyundai Accent
В США опубликованы данные исследования уровня смертности водителей в ДТП в зависимости от класса автомобиля. Хотя риск погибнуть в аварии за последние три года снизился на треть благодаря совершенствованию конструкции автомобилей, безопасность машины зависит от ее размера — наиболее опасными признаны Kia Rio, Nissan Tiida и Hyundai Accent, наименее — преимущественно внедорожники и кроссоверы.
Количество просмотров 52330Количество комментариев 6
Toyota будет испытывать революционные полупроводники на Camry
Toyota будет испытывать революционные полупроводники на Camry
В следующем месяце компания Toyota начнет тестировать гибридный седан Camry с блоком управления питанием (PCU) на основе карборунда. Сверхкомпактные и высокоэффективные блоки PCU появятся на серийных гибридах и электромобилях Toyota до 2020 года.
Количество просмотров 6756Количество комментариев 5
«Яндекс» поможет отследить движение городского транспорта в Москве
«Яндекс» поможет отследить движение городского транспорта в Москве
В приложение «Яндекса» «Яндекс.Транспорт» добавлена функция, с помощью которой можно будет отслеживать время прибытия городского транспорта в Москве. Об этом сообщает пресс-служба компании.
Количество просмотров 7170
Какие погодные факторы влияют на поведение водителей и пешеходов
Какие погодные факторы влияют на поведение водителей и пешеходов
При какой погоде водители и пешеходы считают необходимым перестроить свое поведение на дороге? Теме влияния погодных факторов на безопасность движения посвящен опрос общественного мнения, который проводит на своем официальном сайте Госавтоинспекция МВД России.
Количество просмотров 7508
Опрос ЗР: Где будем обслуживать автомобиль?
Опрос ЗР: Где будем обслуживать автомобиль?
На этот раз мы решили узнать у наших читателей, как изменился их подход к сервисному обслуживанию автомобиля в связи с кризисом. 21% ответивших решили остаться на официальном сервисе, а 32% перейдут на самообслуживание.
Количество просмотров 28623Количество комментариев 20
«Автостат» исследовал уровень удовлетворенности автовладельцев брендами
«Автостат» исследовал уровень удовлетворенности автовладельцев брендами
Рейтинг автомобильных брендов по индексу удовлетворенности автомобилем составило аналитическое агентство «Автостат». В опросе участвовало 2 тысячи автовладельцев, которые имеют в своем распоряжении машины самых популярных в России марок. Всего оценивалась 31 марка.
Количество просмотров 8434
Двигатели Skyactiv: перестройка
Двигатели Skyactiv: перестройка
Двигатели Skyactiv фирмы Mazda: блажь или прорыв? Изучаем конструкцию агрегатов новой волны.
Количество просмотров 202785Количество комментариев 403
Mercedes-Benz внедрит цифровые приборные панели
Mercedes-Benz внедрит цифровые приборные панели
В Скандинавии замечен новый Mercedes-Benz C-класса с большой цифровой приборной панелью. Предполагается, что немцы тестируют технологию, которая впоследствии появится на всех «Мерседесах» с классической компоновкой.
Количество просмотров 7225Количество комментариев 1