Новая Веста: известны технические характеристики

Точные данные по габаритам и гамме силовых агрегатов, а также небольшие подробности по фарам и внешнему виду бамперов.

Обновленное семейство Lada Vesta получило Одобрение типа транспортного средства, разрешающего продажу таких автомобилей на территории России. Документ, обнаруженный ресурсом Лада.Онлайн в базе Системы электронных паспортов, проясняет технические характеристики автомобили, а также некоторые нюансы их внешности.

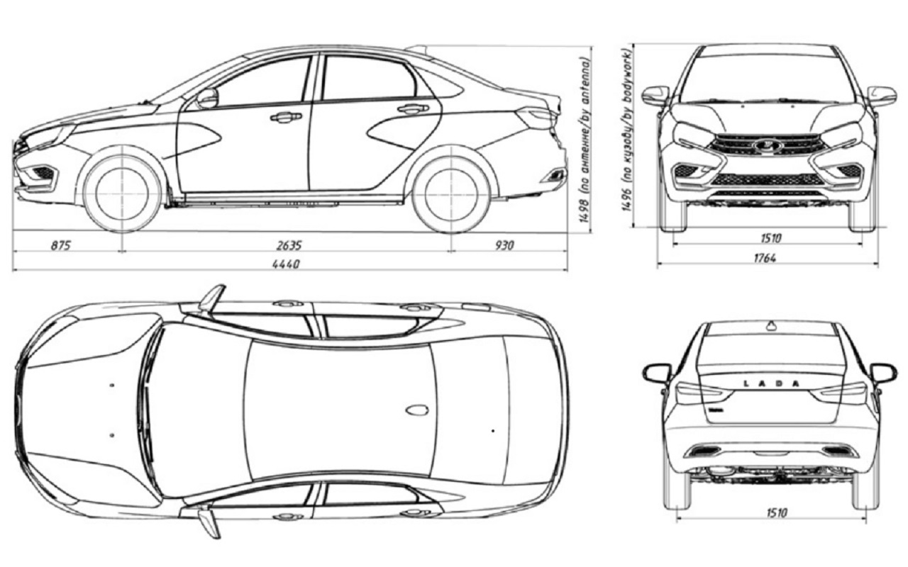
В частности, обновленная Веста (или Vesta FL — «facelift») окажется немного длиннее нынешней — прибавка в пару сантиметров объясняется новыми бамперами.

Судя по приложенным изображениям, характерные «бумеранги» на передке станут немного компактнее, а верхней своей законцовкой будут «прорезать» обновленную светотехнику. Ее внешние обводы (в частности, в месте сопряжения с капотом и крыльями), скорее всего, останутся прежними. А вот «начинка» в топ-версии будет полностью светодиодной.

На задних бамперах у всех представленных модификаций появится имитация двойного выхлопа. Кстати, модификации Lada Sport в документе не значится — она ожидается в продаже позже и будет сертифицироваться отдельно.

В техническом плане изменений не ожидается. В гамме моторов останутся ВАЗ-21129 (1,6 л, 106 л.с.), ВАЗ-21179 (1,8 л, 122 л.с.) и Renault H4M-HR16DE (1,6 л, 113 л.с.). Трансмиссия — механическая (ВАЗ и Renault) и вариатор Jatco. Размер шин и дисков: 185/65 R15, 195/55 R16 и 205/50 R17.

Реконструкция передней части салона Vesta FL по патентным изображениям

А вот интерьер поменяется значительнее: как уже известно по опубликованным патентным изображениям, в Весты-2022 будут новые дверные карты, панель приборов, рулевое колесо. Комбинация приборов — цифровая в дорогих версиях и аналоговая от Renault Logan в бюджетных. Головное устройство — трех видов: однодиновая магнитола, двухдиновая ММС или большой вертикальный планшет. Также ожидается ряд новых для бренда Lada опций: бесключевой доступ, запуск с кнопки, передний парктроник, мониторинг слепых зон.

  • Обновленная Веста ожидается в продаже в мае-июне 2022 года, а т.н. технический запуск серийного производства (без афиширования в СМИ), по неофициальным данным, уже произошел.
  • «За рулем» теперь можно читать в Телеграм.

Фото: elpts.ru, Лада.Онлайн